
导线截面:0.5~1.5mm2(22~16) 最大电流:lmax=10A
型号 |
NEMA-TAB | 材料厚度 |
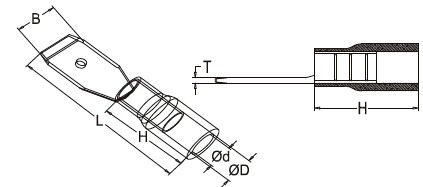
尺寸 | ||||
| B | φd | φD | L | H | |||
| mm | mm | mm | mm | mm | mm | mm | |
| LVB1.25-110(5) | 0.5×2.8 | 0.5 | 2.8 | 1.70 | 4.3 | 17.7 | 10.0 |
| LVB1.25-110(8) | 0.8×2.8 | 0.8 | 2.8 | 1.70 | 4.3 | 17.7 | |
| LVB1.25-187(5) | 0.5×4.75 | 0.5 | 4.75 | 1.70 | 4.3 | 20.0 | |
| LVB1.25-187(8) | 0.8×4.75 | 0.8 | 4.75 | 1.70 | 4.3 | 21.0 | |
| LVB1.25-250 | 0.8×6.35 | 0.4*2 | 6.35 | 1.70 | 4.3 | 21.0 | |
导线截面:1.5~2.5mm2(16~14) 最大电流:lmax=15A
型号 |
NEMA-TAB | 材料厚度 | 尺寸 | ||||
| B | φd | φD | L | H | |||
| mm | mm | mm | mm | mm | mm | mm | |
| LVB2-187(5) | 0.5×4.75 | 0.5 | 4.75 | 2.3 | 4.3 | 20.0 | 10.0 |
| LVB2-187(8) | 0.8×4.75 | 0.8 | 4.75 | 2.3 | 4.3 | 19.0 | |
| LVB2-250 | 0.8×6.35 | 0.4*2 | 6.35 | 2.3 | 4.3 | 21.0 | |
导线截面:4~6mm2(12~10) 最大电流:lmax=24A
| 型号 | NEMA-TAB | 材料厚度 | 尺寸 | ||||
| B | φd | φD | L | H | |||
| mm | mm | mm | mm | mm | mm | mm | |
| LVB5.5-250 | 0.8×6.35 | 0.4*2 | 6.35 | 3.4 | 5.7 | 25.0 | 13.5 |






























| 产品 | *公司 | 姓名 | |||
|---|---|---|---|---|---|
| *手机 | 电话 | 地址 | |||
| QQ | 微信号 | *邮箱 | |||
| 留言 | |||||